Проектирование интеллектуальных систем освещения для теплиц представляет собой актуальную задачу, направленную на повышение эффективности растениеводства и деятельности соответствующих экономических субъектов сельскохозяйственной направленности [1]. Современные исследования подтверждают, что традиционное освещение для теплиц, такое как газоразрядные лампы ДНаТ, не обеспечивает оптимального спектра для фотосинтеза и отличается высоким энергопотреблением. В отличие от них, светодиодные светильники позволяют точно настроить спектральный состав (рис. 1) для поддержания физиологии растений: красный свет (600–700 нм) стимулирует рост надземной части, а синий (400–500 нм) способствует развитию корневой системы [2]. Актуальность разработки заключается в формировании энергоэффективной системы, адаптивно изменяющей спектр и яркость в зависимости от времени суток и текущей стадии роста растения, что позволяет значительно увеличить урожайность.
Рис. 1. Спектральный диапазон эффективного роста растений
Формирователь освещения в соответствие с временными параметрами является устройством, решающим задачу автоматического управления спектром и интенсивностью светодиодного освещения в теплицах. Целью настоящего исследования является проектирование программируемого трехканального устройства, обеспечивающего независимое управление каналами красного, зеленого и синего свечения по заранее заданным временным алгоритмам. Актуальность исследования обусловлена тем, что существующие коммерческие решения часто не обладают необходимой гибкостью программирования временных сценариев либо имеют высокую стоимость. Одним из очевидных решений обозначенной проблемы является проектирование простого микропроцессорного устройства на основе популярной платформы.
Предлагаемое устройство должно реализовывать следующие функции:
- независимое управление тремя каналами светодиодной подсветки (красный, зеленый, синий) с возможностью регулирования средней мощности на каждом канале методом широтно-импульсной модуляции (ШИМ);
- программное включение и отключение каналов по расписанию, задаваемому с помощью встроенных часов реального времени;
- управление основными режимами работы устройства и мониторинг его состояния через беспроводной интерфейс Bluetooth;
- обеспечение питания светодиодных линеек каждого канала постоянным напряжением 60 В при мощности до 15 Вт на канал;
- питание всей системы от сетевого напряжения 230 В.
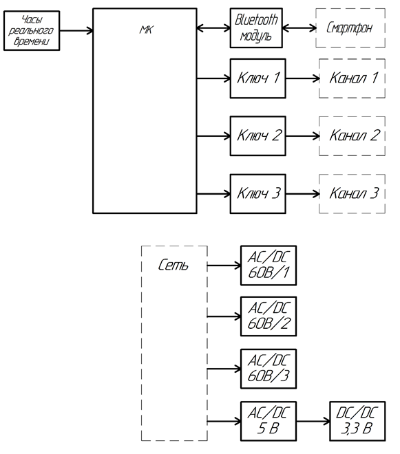
Структурная схема предлагаемого устройства, удовлетворяющего обозначенных техническим и функциональным характеристикам, представлена на рис. 1. Основу работы устройства составляет микроконтроллер семейства AVR [3], в составе которого интегрированы периферийные узлы таймеров, необходимые для генерации сигналов ШИМ и отсчета временных интервалов. Для привязки работы ко времени суток в схему включен модуль часов реального времени, который обеспечивает выполнение запрограммированных сценариев даже в случае временного отсутствия сетевого питания (то есть, восстановление работоспособности запрограммированного сценария при возобновлении питания).
Связь с системами верхнего уровня (например, со смартфоном или системой домашней автоматизации) осуществляется через Bluetooth-модуль, представляющий собой преобразователь интерфейсов из последовательного UART в беспроводной Bluetooth [4]. Коммутация высоковольтных нагрузок осуществляется через три транзисторных ключа, к которым подключены светодиодные линейки соответствующих каналов (R, G, B)
Рис. 2. Структурная схема формирователя освещения в соответствие с временными параметрами
Цепь питания устройства представляет собой совокупность преобразователей: AC/DC преобразователь для получения из сетевого напряжения 230 В постоянного напряжения +5 В, необходимого для питания микроконтроллера и часов реального времени; AC/DC преобразователи с выходным напряжением 60 В для питания каждой из трех светодиодных линеек; DC/DC преобразователь, понижающий напряжение +5 В до +3.3 В для питания Bluetooth-модуля. Такая структура обеспечивает выполнение всех заявленных функциональных требований к устройству.
Таким образом, предложена структура программируемого формирователя освещения для теплиц, представленная соответствующей структурной схемой, на которой отражены особенности интерфейсов взаимодействия и организация цепи питания. Разработанное устройство позволяет гибко управлять спектральным составом и интенсивностью освещения в соответствии с временными параметрами, что создает оптимальные условия для роста растений и способствует повышению эффективности тепличного хозяйства.
Литература:
- Станкевич, Н. С. Продления светового дня в тепличном комплексе / Н. С. Станкевич, Д. А. Тимофеев // Молодая наука аграрного Дона: традиции, опыт, инновации. — 2024. — № 8.
- Использование светодиодных систем освещения с различным спектральным составом для выращивания томатов в условиях защищенного грунта / А. А. Дубровский, A. A. Dubrovsky, В. В. Смирнова [и др.] // Инновации в АПК: проблемы и перспективы. — 2022. — № 3 (35). — С. 132–140.
- Мартин Т. Микроконтроллеры Atmega. Семейство микроконтроллеров AVR. Вводный курс. — М.: изд. Додэка-XXI, 2010. — 296 с.
- Таненбаум Э., Уэзеролл Д. Беспроводные сети. 5-е изд. — М.: Техносфера, 2016. — 323 с: ил.

