Навесная фасадная система с воздушным зазором (НФС) представляет из себя конструктив элементов и материалов, смонтированных на внешней поверхности наружных стен здания, в соответствии с рабочей документацией.
НФС состоит из металлической конструкции, теплоизоляционного слоя, гидрозащитой мембраны и финишной облицовки. Теплоизоляционный слой и гидрозащитная мембрана сопровождаются теплотехническим расчетом и указываются в рабочей документации. Устройство навесных фасадных систем выполняется согласно СП 48.1330.2011 и СНиП 3.03.01–87 необходимо соблюдать все установленные требования.
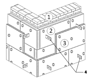
Рис. 1. Общий вид системы. 1 — Основание; 2 — Теполоизоляционный есть слой, на котором располагаются кронштейны, направляющие и облицовочный материал.; 6 — Анкер с тарельчатым дюбелем
Для установки вентиляционной системы применяют леса, а в качестве инструмента по доставке материала на строительной площадке к месту проведения работ — башенный кран.
Перед установкой системы разбивают здание на отдельные секции. НВФ установка происходит вертикально с делением работ на захватки по сторонам света (юг, север, восток, запад). Захватывая вещи сверху вниз. является отметка на фасаде начинается с нулевого уровня и заканчивается на кровле здания.
Монтаж НФС производится текст говорит о том, что для эффективной работы необходимо использовать последовательные или параллельные технологические процессы.
Заботиться — это забота о собственном здоровье. Нельзя пренебрегать своим физическим и психическим благополучием, ведь здоровье — это основа счастья и успеха. Необходимо следить за правильным питанием, заниматься спортом, отдыхать, чтобы быть всегда в отличной форме. помнить при устройстве НВФ.
– Расстояние между лесами;
– Устанавливать места крепления лесов согласно будущим направляющим НВФ.
– Необходимо обеспечить защиту утеплителя от влаги.
На старте работ по устройству НВФ необходимо выполнить:
– Удаление с фасада подтёков;
– Удаление неровности на поверхности бетона или остатки клея от кирпичной кладки.
Перед установкой системы необходимо проверить качество бетона и отсутствие выступающей арматуры.
При выявлении нестандартных дефектов на стенах здания, проектная компания принимает решение о дальнейших действиях по установке системы пожарной безопасности.
Необходимо продолжать установку системы без остановки, иначе провести укрытие. гидрозащитной мембраны для утеплителя
Основные операции при устройстве вентилируемого фасада
Технологическая последовательность операций:
- Разметка осей подконструкции и установка кронштейнов;
- Монтаж теплоизоляционных плит;
- Установка направляющих;
- Монтаж облицовочного материала;
- Урасстановка элементов системы противопожарной безопасности..
1. Разметка осей подконструкции и установка кронштейнов
Разметка осей для подконструкции НФС следует выполнять, учитывая тот факт, что высока вероятность смещения относительно проектных расчетов, а также смещения линий разметки для крепежных элементов по месту установки кронштейнов на стену здания.
Нанесение разметки наносится в соответствии с рабочей документацией кронштейнов, а также шаг установки кронштейнов. В рабочем проекте отображается: материал при расчете нагрузки на несущую поверхность, учитывается вес облицовочного материала, эксплуатационные особенности данной навесной фасадной системы.
После разметки, на стене монтируют дюбеля для кронштейнов.
Монтаж кронштейнов и вертикальных профилей начинается снизу и продвигается вверх.
Монтаж кронштейна выполняют с его установки и закрепления его анкерными соединениями. Необходимо осознавать, что монтаж креплений необходимо выполнять с применением шайбы для обеспечения терморазрыва.
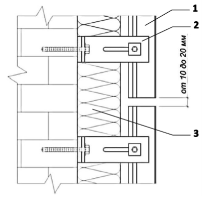
Рис. 2. Монтаж кронштейна к основанию
Нужно прочитать и пересказать текст, в котором описаны четыре элемента: строительное основание, кронштейн, анкер с шайбой и гайка. Терморазрыв.
2. Монтаж теплоизоляционных плит
Монтаж теплоизоляционных плит разрешается выполнять сразу после установки кронштейнов началась работа.
В НФС обычно выполняется предлагается использовать минераловатные плиты для утепления одно- или двухслойной конструкции. рабочей документацией.
Следует учитывать, что при монтаже теплоизоляции в два слоя нужно гарантировать перекрытие стыков плит внутреннего и наружного слоев на толщину теплоизоляции. При варианте для внутреннего слоя лучше использовать плиты с низкой плотностью, а для наружного слоя — с высокой плотностью при утеплении.
Для минераловатных плит важна толщина наружного слоя. должна составлять 50 мм. При двухслойной теплоизоляции важно обеспечить тесное прилегание к стенам здания.
Монтаж начинают выполнять, начиная с нижнего ряда, то есть снизу вверх.
Необходимо соблюдать схему укладки теплоизоляционного слоя.
Категорически запрещено выполнять монтаж по утеплению путем перегиба плит теплоизоляции можно изменить угол. Крепление плит к основанию выполняется с помощью пластмассовых дюбелей тарельчатого типа с распорными дюбелями из металла, а для закрепления плит внутреннего слоя утеплителя используются два дюбеля, а для наружного слоя — пять.
При монтаже изоляционного материала важно соблюдать определенные правила:
– расстояние между стеной и утеплителем.
– зазор м/д ронделью и плитой утеплителя;
– поврежденные плиты.
– плиты размером менее 200х300 мм;
– использование материалов, не предусмотренных для монтажа, таких как пенопласт, монтажная пена, пакля и другие, может негативно повлиять на процесс установки.
В навесных фасадных системах с воздушным зазором, поверхность плит, обращенная наружу, обычно не нуждается в дополнительной защите. ветро-гидрозащитными применение мембран на объекте обуславливается расчетами, учитывающими высоту здания, направление ветра, воздушный зазор и требования к сопротивлению. воздухопроницанию необходимо установить теплоизоляционный слой с соблюдением требований пожарной безопасности. ветро– гидрозащитной мембраны следует:
– нанесение мембраны сверху утеплителя — необходимая процедура.;
– необходимо установить мембрану натянутой, прикрепив ее к стене специальными анкерами через утеплитель.;
– выполнить с учетом перехлеста друг на друга расстояние между соседними полотнами должно быть не менее 150 мм, а шаг установки также следует учитывать. закрепите анкеры с дюбелями на расстоянии от 500 до 1000 мм в местах перекрытия.
Рис. 3. Схема укладки при однослойном и двуслойном утеплении
На строительном основании укреплены теплоизоляционные плиты внутреннего и наружного слоев, а также кронштейн для поддержки конструкции.
3. Установка направляющих
Для компенсации температурных деформаций необходимо устанавливать направляющие с зазором, как вертикальные, так и горизонтальные.
Стальные направляющие нужно крепление должно быть надежным, с алюминиевыми деталями, способными компенсировать деформации при изменении температуры. Это можно сделать через овальные отверстия или дополнительные элементы, жестко закрепленные к кронштейну и подвижно к направляющей.
Необходимо проверить положение каждой направляющей в вертикальной плоскости с помощью теодолита или отвеса.
При установке направляющих не допускается:
– мы должны заменить направляющие с повреждениями и вырезать в них пазы.;
– установка должна проводиться с учетом температурного зазора между направляющими.
– изменить расположение направляющих относительно кронштейнов в проекте не рекомендуется.
– монтаж НФС каркасов производится путем натяжения или изгиба, чтобы создать начальное напряжение в элементах.
Рис. 4. Установка направляющих. Перечислены три элемента: направляющая, кронштейн и теплоизоляция
4. Монтаж облицовочного материала (защитно-декоративного экрана)
После завершения установки направляющих производится монтаж элементов облицовки фасада.
Для создания защитно-декоративного экрана лучше использовать различные материалы, такие как плиты, панели, кассеты или листовые материалы с разными текстурами. скрытым используются различные материалы для крепления: керамические, керамогранит, натуральный или агломерированный камень. фиброцементныеизготовление деталей из различных материалов, таких как металл, металло-композиты, однослойный и многослойный пластик.
Хорошее качество и надежность, чтобы обеспечить долгий срок службы и красивый внешний вид здания. физико необходимо выбирать облицовочные материалы для НФС с учетом их прочности, морозостойкости и сохранности декоративных свойств. Критерии пригодности материалов и их крепления к стенам должны соответствовать пожарным требованиям и определяться исходя из результатов испытаний.
При монтаже облицовки важно выбрать надежный способ крепления, чтобы избежать вибраций и ослабления соединения во время эксплуатации.
Необходимо устанавливать элементы облицовки с зазорами между ними для компенсации их расширения. термокомпенсационными необходимо обеспечить свободное перемещение элементов и исключить возможность возникновения температурных напряжений. Размеры швов и отверстий должны соответствовать расчетной схеме. Величина зазора между элементами определяется эстетическими и конструктивно-технологическими требованиями.
Рис. 5. На рисунке показан процесс установки отделочного материала. 1 — направляющая, 2 — кронштейн, 3 — терморазрывфиксирующий элемент № 4 и облицовочная кассета № 5
5. Вывод. Достоинства и недостатки НВФ.
В вентилируемых фасадах важна возможность изменения дизайна и материалов, а также их применение для реновации зданий, испытывающих проблемы с фасадом или нуждающихся в обновлении.
Еще один плюс вентфасада установка вентилируемого фасада помогает улучшить энергоэффективность дома за счет утепления стен снаружи. Это позволит сохранить тепло зимой и охладить помещение летом..
Возможности установки в любое время года и долгом сроке службы до 50 лет. В отличие от фасадов с «мокрыми» процессами, вентилируемый фасад не требует монтажа зимой. современные облицовочные материалы защищают стены от погодных условий, обладают высокой технологичностью, удобны в монтаже и могут скрывать дефекты фасада. Они также обеспечивают повышенную тепло- и звукоизоляцию и сочетаются с различными архитектурными стилями..
Преимущество вентфасада изменяя материалы, можно регулировать стоимость строительства дома. Для бюджетного варианта можно использовать дешевую облицовку и деревянную обрешетку, не утеплять или утеплить слоем 50 мм. Для улучшения энергоэффективности лучше использовать навесную фасадную систему с утеплителем 100 и 150 мм..
Необходимо помнить о возможных недостатках данного подхода. вентфасад утепления фасада можно отнести потенциальную усадку изоляционного слоя, проникновение влаги через зазоры обшивки и появление посторонних звуков при сильном ветре. вентфасадов высокая трудоемкость в строительстве связана с дополнительными расходами на материалы и монтаж каркаса.
Основные проблемы возникают из-за неправильного выбора материала и неправильного монтажа. Например, важно подбирать облицовочный материал в зависимости от типа стены, так как тяжелые панели плохо монтируются на каркасные стены. фиброцементый для дома сайдинга не рекомендуется использовать кирпич или камень для облицовки, но можно использовать виниловые панели под кирпич или камень. Для каменного дома таких ограничений нет.
Ошибка часто происходит из-за неправильного выбора пленки, которая защищает утеплитель. Если пленка не подходит, то утеплитель будет задерживать влагу, а не пропускать, что может привести к повреждению стен.
Большая ошибка при монтаже вентфасада — закрывать зазор внизу и сверху. Вентилируемый фасад на то и вентилируемый, что у него должен быть свободный доступ воздуха снизу и свободный выход сверху. Если вентзазор где-то перекрыт, будет происходить влагонакопление. Сам «пирог» вентилируемого фасада не будет работать. При монтаже винилового сайдинга его нельзя крепить намертво. У него должна быть возможность расширения и сжатия. Это тоже частая ошибка.
Литература:
- Дятков, С. В. Архитектура промышленных зданий / С. В. Дятков, А. П. Михеев. — Москва: АСВ, 2004, 2008.
- Маклакова, Т. Г. Архитектура / Т. Г. Маклакова, С. М. Нанасова, В. Г. Шарапенко [и др.]. — Москва: АСВ, 2004.
- Маклакова, Т. Г. Конструкции гражданских зданий: учеб. для вузов / Т. Г. Маклакова, С. М. Нанасова. — Москва: Изд-во АСВ, 2002.
- Каминский, В. П. Строительное черчение: учеб. / В. П. Каминский, О. В. Георгиевский, Б. В. Будасов. — 6-е изд., перераб. и доп. — Москва: Архитектура-С, 2004.
- Благовещенский, Ф. А. Архитектурные конструкции: учеб. / Ф. А. Благовещенский, Е. Ф. Букина. — Стер. изд. — Москва: Архитектура-С, 2007.
- Кутухтин, Е. Г. Конструкции промышленных и сельскохозяйственных зданий и сооружений / Е. Г. Кутухтин, В. А. Коробков. — Москва: Архитектура — С, 2007.

